Каталог
Каталог Написать в WhatsApp
Мотоэкипировка

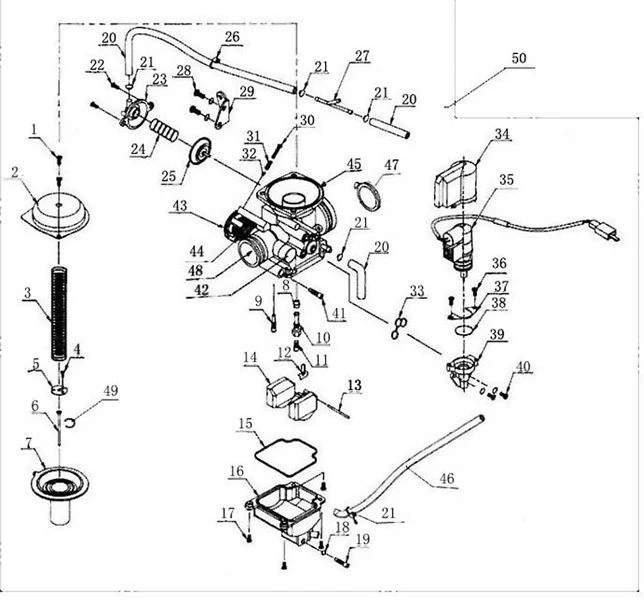
Карбюратор снегохода SNOWFOX T201 (Cronus, S2, Motoland, TaoTao, WELS, CMOTO)

Карбюратор снегохода SNOWFOX T201 (Cronus, S2, Motoland, TaoTao, WELS, CMOTO) в Красноярске: актуальный каталог, цены, фото, описание. Купите карбюратор снегохода snowfox t201 (cronus, s2, motoland, taotao, wels, cmoto) в кредит – оформите заявку онлайн за 1 минуту!

Оригинальные запчасти

Артикул НАИМЕНОВАНИЕ Кол-во деталей в узле Примечание Наличие Цена Аналоги Фото
1 152QMI-230-000 PLATE, Клапан

Под заказ

1

Под заказ

уточнить

Купить
2 152QMI-231-000 SPRING,Клапан

Под заказ

1

Под заказ

уточнить

Купить
3 152QMI-232-000 Винт, OIL PIN

Под заказ

1

Под заказ

уточнить

Купить
4 152QMI-233-000 PLATE,OIL PIN

Под заказ

1

Под заказ

уточнить

Купить
5 161QMK-019-000 OIL PIN

Под заказ

1

Под заказ

уточнить

Купить
6 161QMK-019-100 Клапан

Под заказ

1

Под заказ

уточнить

Купить
7 161QMK-020-000 MUZZLE

Под заказ

1

Под заказ

уточнить

Купить
8 161QMK-021-000 MUZZLE, IDLE

Под заказ

1

Под заказ

уточнить

Купить
9 161QMK-022-000 MUZZLE, MAIN DIVE

Под заказ

1

Под заказ

уточнить

Купить
10 161QMK-023-000 MUZZLE, MAIN DIVE

Под заказ

1

Под заказ

уточнить

Купить
11 152QMI-240-000 OIL PIN

Под заказ

1

Под заказ

уточнить

Купить
12 152QMI-241-000 PIN ,FLOAT

Под заказ

1

Под заказ

уточнить

Купить
13 152QMI-242-000 BUOY

Под заказ

1

Под заказ

уточнить

Купить
14 152QMI-243-000 шайба, OILCUP

Под заказ

1

Под заказ

уточнить

Купить
15 152QMI-244-000 Крышка карбюратора

Под заказ

1

Под заказ

уточнить

Купить
16 152QMI-246-000 Прокладка Стопорное кольцо

Под заказ

1

Под заказ

уточнить

Купить
17 152QMI-247-000 Винт,OIL LEAK

Под заказ

1

Под заказ

уточнить

Купить
18 152QMI-248-000 Масляная трубка

Под заказ

3

Под заказ

уточнить

Купить
19 152QMI-249-000 OUCH, OIL

Под заказ

5

Под заказ

уточнить

Купить
20 152QMI-251-000 Крышка, Клапан

Под заказ

1

Под заказ

уточнить

Купить
21 152QMI-252-000 SPRING, Клапан

Под заказ

1

Под заказ

уточнить

Купить
22 152QMI-253-000 Прокладка в сборе, Клапан

Под заказ

1

Под заказ

уточнить

Купить
23 152QMI-254-000 Стопорное кольцо, Прокладка

Под заказ

1

Под заказ

уточнить

Купить
24 152QMI-255-000 Вилка, трубка

Под заказ

1

Под заказ

уточнить

Купить
25 152QMI-257-000 PIECE,COPPER

Под заказ

1

Под заказ

уточнить

Купить
26 152QMI-258-000 Винт, IDLE

Под заказ

1

Под заказ

уточнить

Купить
27 152QMI-259-000 SPRING,IDLE

Под заказ

1

Под заказ

уточнить

Купить

Нулевая цена не означает отсутствие товара. Оформите заказ, и менеджер сообщит вам цену и наличие товара, предварительно запросив их у поставщика

Главная Магазины
Корзина0
Профиль